EMCO Thermowell Type TTN with NPT Connection

copy_ttn_2

Principle

EMCO thermowell type TTN with NPT connection ใช้สำหรับป้องกันการกัดกร่อนของเครื่องมือวัดอุณหภูมิ เช่น เทอร์โม , RTD , bimetal เส้นผ่านศูนย์กลางภายนอกสูงสุด 6.4 และ 9.5 mm (1/4″ and 3/8″)

Construction

EMCO thermowells type TTN ออกแบบและผลิต สอดคล้องตามมาตรฐานของ I.S.A

Product specifications

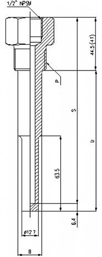
Material : AISI 316, Carbon steel, Monel, 254SMO, Titanium, Hastelloy
Connection (P) : 3/4″, 1″ NPT
Pressure rating : สูงสุดถึง 70 bar (1000 psi)
Insertion length (U) : 63.5 mm (2.5″), 114.3 mm (4.5″), 190.5 mm (7.5″), 266.7 mm (10.5″), 342.9 mm (13.5″), 419.1 mm (16.5″), 551.3 mm (22.5″)
Bore length (S) : 101.6 mm (4″), 152.4 mm (6″), 228.6 mm (9″), 304.8 mm (12″), 381 mm (15″), 457.2 mm (18″), 609.6 mm (24″)
Bore : 7, 10 mm (0.276″, 0.394″)
Well form : Straight, stepped straight, taper
Lagging extension (T) : 60 mm (2″) for insertion length U = 63.5 mm (2.5″), for other insertion lengths: 89 mm (3″)
Tip thickness : 6.4 mm (0.25″)
Instrument connection : 1/2″ NPSM
Accessories : Plug and chain

ttn2

DownloadEN